下一步

智能风控-聊天会话敏感内容智能提醒

免费试用
 
聊天质检
自动检测销售与客户沟通过程中的不当话术,管控员工日常工作行为。聊天会话触发敏感词系统自动提醒管理员,帮助企业第一时间发现风险,保障客户和企业的利益。
免费试用
聊天质检
敏感行为
智能预警收发红包、手机号码、名片、小程序等敏感行为,降低飞单、私单等违规行为发生的几率。
免费试用
敏感行为
回复超时
通过回复超时提醒推动员工及时对接客户,提升员工服务效率,提高客户服务满意度。
免费试用
回复超时
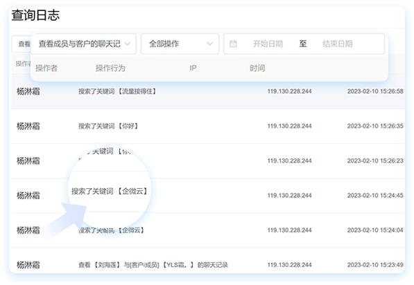
查询日志
员工登录后台点击查看聊天记录时,系统会自动记录操作者、访问IP、操作行为等信息,操作留痕可追溯,规避聊天记录泄露风险。
免费试用
查询日志
聊天存储:
微信聊天记录存档与智能风控
预约专家
 
扫码咨询