下一步

怎么使用企微SCRM公海?

免费试用
 
问题分类
当前位置: 客户拓展 > 客户公海 > 怎么使用企微云客户公海?

怎么使用企微云客户公海?

2020-09-21     浏览数:4135

企微云-客户拓展【客户公海】模块,汇集了企业所有渠道来源的潜在客户。企业可在【客户公海】查看、管理潜在客户线索。


01

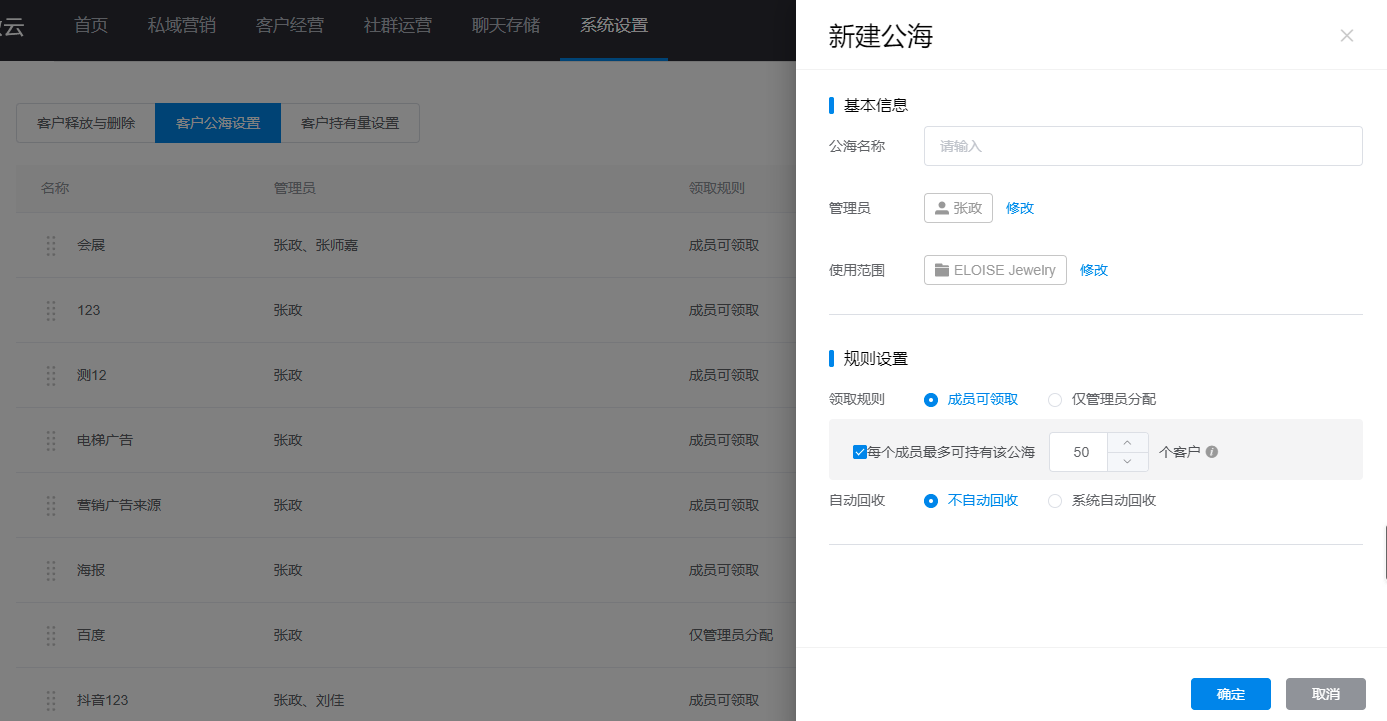
新建公海

企业可根据需求新建公海,设置公海的流转规则。包括公海名称、应用范围、领取规则等等。

操作路径:客户经营-模块配置-客户持有量与公海-客户公海设置-新建

image.png
image.png


02

公海领取


公海客户领取分为“成员可领取”、“仅管理员分配”两种形式。

普通成员领取:如设置为成员自行领取,则企业成员可在【客户公海】点击对应客户进行领取跟进,领取后的客户将转入该企业成员的SCRM客户列表。

操作路径:客户拓展-客户公海-领取

管理员分配:根据预设的公海领取规则,当设置为“仅管理员分配”,则通过管理员进行统一分配给企业成员。

操作路径:客户拓展-客户公海-分配-选择成员-确认


03

公海回收规则


根据企业需求,可将公海客户回收规则设置为自动回收/不自动回收。当设置为不自动回收,则系统不会对被领取的公海客户有所操作;当系统设置为自动回收时,可设置回收时间、提醒时间和有效行为

企业成员领取公海客户后,如果没有及时跟进或者在限期内没有有效行为,系统将自动回收未被跟进的客户,被回收的客户将重新进入公海进行流转。

操作路径:客户经营-模块配置-公海设置-编辑


不自动回收:

系统自动回收:


04

转移公海客户


企业可在公海中对公海客户进行管理。可将已进入公海的客户进行目标公海的转移操作。

操作路径:客户拓展-客户公海-转移-选择目标公海-确定

image.png




拓展阅读:


怎么新建渠道活码?

怎么按场景需求创建好友欢迎语?

怎么使用企微云群活码?

怎么设置自动拉群?

怎么通过标签建群?

怎么将官网访客数据同步到企微云?

怎么使用企微云批量加客户?



 
扫码咨询